투표일 연장되겠네여.
오전꺼로 잘못 올렸었어요
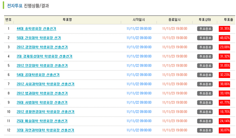
다시 확인해보세요 ㅎㅎㅎ
이거 맞는건가요??제가 알기로는 총학생회 투표율이 더 많이 나온걸로 아는데...그냥 물어보는 겁니다...ㅎㅎ
울학교 자게에서 총학생회가 밝힌 수치라서 정확할거에요
헐 경영대가 꼴지라니
생환대,예대,경영대 뭔가 위험해보이네요
인원이 적은 사범대와 간호대가 압도적이군요
내일하면 50%되겠네요
| 번호 | 분류 | 제목 | 글쓴이 | 날짜 |
|---|---|---|---|---|
| 공지 | 가벼운글 | 욕설/반말시 글쓰기 권한 영구 정지 | 쓰레받기 | 2019.01.26 |
| 공지 | 정보 | 욕설/반말시 글쓰기 권한 영구 정지3 | 쓰레받기 | 2019.01.26 |
| 공지 | 진지한글 | 이슈정치사회 이용규칙 (2018/09/30 최종 업데이트) - 학생회 관련 게시글, 댓글 가능 | 빗자루 | 2013.03.05 |
| 공지 | 가벼운글 | 자유게시판 이용규칙 (2018/09/30 최종 업데이트) - 학생회 관련 게시글, 댓글 가능2 | 빗자루 | 2013.03.05 |
| 7398 | 진지한글 | 오늘 4시 15분 기준 투표율1 | 우왕 | 2011.11.23 |
| 7397 | 가벼운글 | 답장느린경우7 | 444 | 2011.11.23 |
| 7396 | 가벼운글 | 가끔가다1 | 내가제일짱나가 | 2011.11.23 |
| 7395 | 진지한글 | 오늘 투표율 | 아듀 | 2011.11.23 |
| 7394 | 진지한글 | 11시 30분 기준 투표율 | 기웃기웃 | 2011.11.23 |
| 7393 | 가벼운글 | 전역하고 나서 뭘 해야 할지...5 | RedMosQ | 2011.11.23 |
| 7392 | 질문 | 한국경제사듣고계신분....? | 다다다 | 2011.11.23 |
| 7391 | 가벼운글 | 부산대 키우는 방법5 | 1234 | 2011.11.22 |
| 7390 | 가벼운글 | 여러분1 | 라일락 | 2011.11.22 |
| 7389 | 가벼운글 | 방학 때 기숙사드가는거1 | 유유 | 2011.11.22 |
| 7388 | 진지한글 | 아직 투표 안 했는데1 | 캐간지남 | 2011.11.22 |
| 7387 | 가벼운글 | FTA4 | 마우스 | 2011.11.22 |
| 7386 | 진지한글 | 내년에 민주당을 찍어야겠습니다. | 게으른곰 | 2011.11.22 |
| 진지한글 | 오늘 최종 투표율이래요8 | 기웃기웃 | 2011.11.22 | |
| 7384 | 가벼운글 | 근데 국회에 최루탄 던진 사람은 | 정신줄놨음 | 2011.11.22 |
| 7383 | 가벼운글 | FTA가 좋고 나쁘고를 떠나서2 | 전투민족 | 2011.11.22 |
| 7382 | 진지한글 | FTA2 | 사는동안 | 2011.11.22 |
| 7381 | 가벼운글 | 부산대 위상과 관련해서 또 우울해지는 사진2 | 길가던상대생 | 2011.11.22 |
| 7380 | 가벼운글 | 부산대 위상과 관련해서 또 우울해지는 사진4 | MagnaCarta | 2011.11.22 |
| 7379 | 진지한글 | 정치관련해서 그냥 개인적인 헛소리 한번 할게요3 | 동동이 | 2011.11.22 |
댓글 달기