

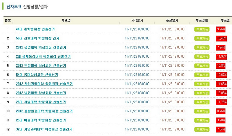
사회대,법대,경상대 투표율이 높네요
| 번호 | 분류 | 제목 | 글쓴이 | 날짜 |
|---|---|---|---|---|
| 공지 | 가벼운글 | 욕설/반말시 글쓰기 권한 영구 정지 | 쓰레받기 | 2019.01.26 |
| 공지 | 정보 | 욕설/반말시 글쓰기 권한 영구 정지3 | 쓰레받기 | 2019.01.26 |
| 공지 | 진지한글 | 이슈정치사회 이용규칙 (2018/09/30 최종 업데이트) - 학생회 관련 게시글, 댓글 가능 | 빗자루 | 2013.03.05 |
| 공지 | 가벼운글 | 자유게시판 이용규칙 (2018/09/30 최종 업데이트) - 학생회 관련 게시글, 댓글 가능2 | 빗자루 | 2013.03.05 |
| 7377 | 질문 | 우리학교 등록금 카드 되나요?3 | 길가던상대생 | 2011.11.22 |
| 7376 | 진지한글 | 4시15분기준투표율 | ㅇㅇ | 2011.11.22 |
| 7375 | 가벼운글 | 한미 FTA 비준안이 국회 통과되었네요...5 | 해바라기유 | 2011.11.22 |
| 7374 | 가벼운글 | 속보 한나라당, 본회의장 점거 중… 한미FTA 처리 시도1 | 치즈샌드 | 2011.11.22 |
| 진지한글 | 1시 기준 투표율이래요2 | 기웃기웃 | 2011.11.22 | |
| 7372 | 가벼운글 | 열두시에 잠시 | 머지 | 2011.11.22 |
| 7371 | 가벼운글 | 한시수업인데.2 | 길가던상대생 | 2011.11.22 |
| 7370 | 가벼운글 | 락밴드 SIren에서 11학번을 모집합니다 | 후후 | 2011.11.22 |
| 7369 | 진지한글 | 투표하면1 | 비가내리고 | 2011.11.22 |
| 7368 | 진지한글 | 투표소지킴이 중인데4 | 지키미 | 2011.11.22 |
| 7367 | 가벼운글 | 점심으로 라면 먹었는데2 | 내가제일짱나가 | 2011.11.22 |
| 7366 | 질문 | 내년 롯데 주장은 누가하게 될까요?2 | Dui | 2011.11.22 |
| 7365 | 진지한글 | 투표하니까5 | ㅠㅠ | 2011.11.22 |
| 7364 | 질문 | 학업지원장학금.받아보신분??1 | 웅 | 2011.11.22 |
| 7363 | 가벼운글 | 임작가랑 이승호 교환 ㅋㅋㅋㅋㅋ3 | 길가던상대생 | 2011.11.22 |
| 7362 | 가벼운글 | 조인성도 슼으로 갔네요ㅎ4 | 머드라 | 2011.11.22 |
| 7361 | 가벼운글 | 아침에 일어나기 싫어요2 | 아홉시맨 | 2011.11.22 |
| 7360 | 가벼운글 | 진지합니다. 서열 한번 매겨주세요.3 | 동동이 | 2011.11.22 |
| 7359 | 가벼운글 | 크리스마스 33일 남았습니다4 | 똥마려워 | 2011.11.21 |
| 7358 | 가벼운글 | 핵폭탄 무서운 줄 모르던 시절1 | 헤헤헤 | 2011.11.21 |
댓글 달기